Z11H、Z11Y 內螺紋閘閥(鋼制內螺紋楔式閘閥)流體阻力小,啟、閉所需力矩較小,可以使用在介質向兩方向流動的環網管路上,也就說介質流向不受限制。全開時,密封面受工作介質的沖蝕比截止閥小。形體結構比較簡單,制造工藝性較好,結構長度比較短。
產品名稱: | 鍛鋼閘閥 | 產品型號: | Z11Y、Z11H |
公稱通徑: | DN15~DN100 | 結構形式: | 閘板式 |
公稱壓力: | 1.6Mpa~42.0Mpa/150LB-2500LB | 連接方式: | 法蘭、內螺紋、承插焊、焊接 |
適用溫度: | -20ºC~+150ºC~425ºC~550ºC | 驅動方式: | 手動、傘齒輪、電動、氣動、液動 |
閥體材質: | 鍛鋼、鍛不銹鋼、A105、A182、F22、F304 | 制造標準: | 國標GB、德國DIN、美國API、ANSI |
適用介質: | 水、油、蒸汽 | 生產廠家: | 浙江嵐勝閥門有限公司 |
設計與制造:JB/T 7746
螺紋端尺寸:GB 7306
結構長度:JB/T 7746、ANSI B16.10
壓力~溫度:GB/T 9131
檢驗與試驗:JB/T 9092
鍛鋼閘閥有三種體蓋連接設計形式。第一種是體蓋螺栓連接鍛鋼閘閥,按這種連接形式設計的閥門,其閥體與閥蓋用螺栓連接,纏繞式墊片密封,優點是便于維修。第二種體蓋焊接連接鍛鋼閘閥,按這種連接形式設計的閥門,其閥體與閥蓋全焊密封,優點是無外泄漏。第三種是壓力自緊式閥蓋鍛鋼閘閥,按這種連接形式設計的閥門,其閥體與閥蓋用螺蚊連接,內壓自密封環密封,優點是內部壓力越大,其密封性能越好。
1.產品設計制造按API標準,密封可靠,性能優良、能與進口設備配套使用。
2.600Lb以上閘板與閥座密封采用司太立(stellite)鈷基硬質合金堆焊而成,耐磨、耐高溫,耐腐蝕,抗擦傷性能好、使用壽命長
3.閥桿經調質和表面氮化處理,有良好的抗腐蝕性和抗擦傷性。
4.采用楔式彈性閘板結構,中大口徑設置滾動軸承,啟閉輕松。
5.閥體材料品種齊全,填料、墊片根據實際工況或用戶要求合理選配,能適用于各種壓力、溫度及介質工況。
6.1500LB、2500LB中腔采用壓力自緊式密封結構。密封性能隨內壓升高而升高,可靠性高。
7.倒密封采用不銹鋼螺紋連接密封座或本體堆焊奧氏體不銹鋼而成,倒密封可靠,填料更換和維修可在不停機情況下進行,方便快捷不影響系統運行。
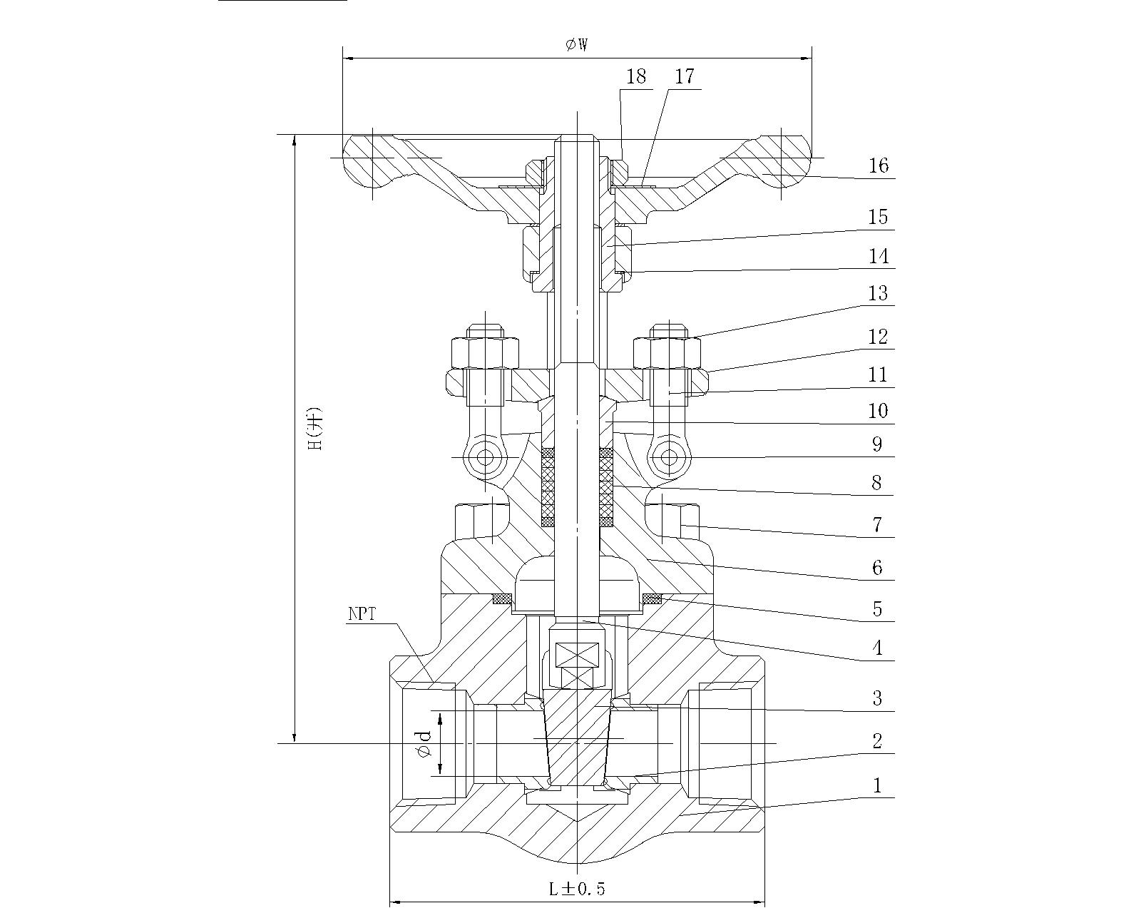
序號 | 零件名稱 | CS to ASTM | AS to ASTM | SS to ASTM | |
Type A105N | Type F22 | Type F304(L) | Type F316(L) | ||
1 | 閥體 | A105N | A182 F22 | A182 F304(L) | A182 F316(L) |
2 | 閥座 | A276 420 | A276 304 | A276 304(L) | A276 316(L) |
3 | 閘板 | A182 F430 | A182 F304 | A182 F304(L) | A182 F316(L) |
4 | 閥桿 | A182 F6a | A182 F304 | A182 F304(L) | A182 F316(L) |
5 | 墊片 | 316夾柔性石墨 | 316夾PTFE | ||
6 | 閥蓋 | A105 | A182 F22 | A182 F304(L) | A182 F316(L) |
7 | 閥蓋螺栓 | A193 B7 | A193 B16 | A193 B8 | A193 B8M |
8 | 圓柱銷 | A276 420 | A276 304 | ||
9 | 填料壓套 | A276 410 | A182 F304(L) | A182 F316(L) | |
10 | 活節螺栓 | A193 B7 | A193 B16 | A193 B8 | A193 B8M |
11 | 填料壓板 | A105 | A182 F304 | ||
12 | 螺母 | A194 2H | A194 4 | A194 8 | A194 8M |
13 | 閥桿螺母 | A276 420 | |||
14 | 鎖緊螺母 | A194 2H | A194 4 | A194 8 | A194 8M |
15 | 銘牌 | SS | |||
16 | 手輪 | A197 | |||
17 | 潤滑墊片 | A273 431 | |||
18 | 填料 | 柔性石墨 | PTFE | ||
適用介質 | 水、蒸汽、油品等 | 水、蒸氣、油品等 | 硝酸、醋酸等 | ||
適用溫度 | -29°C~425°C | -29°C~550°C | -29°C~200°C | ||

NPS | 1/2 | 3/4 | 1 | 11/4 | 11/2 | 2 | ||||
L(RF) | 150Lb | 108 | 117 | 127 | 140 | 165 | 203 | |||
300Lb | 145 | 152 | 165 | 178 | 190 | 216 | ||||
600Lb | 165 | 190 | 216 | 229 | 241 | 292 | ||||
H(開) | 150,300Lb | 158 | 169 | 197 | 236 | 246 | 283 | |||
600Lb | 169 | 197 | 236 | 246 | 283 | 320 | ||||
W | 100 | 100 | 125 | 160 | 160 | 180 | ||||
重量 | 150 | RTJ | 4.5 | 5.2 | 8.2 | 11.5 | 12.5 | 20.3 | ||
BW | 2.8 | 3.3 | 5.4 | 7.1 | 8.2 | 12.5 | ||||
300 | RTJ | 4.8 | 6.2 | 9.3 | 14 | 15.5 | 23.4 | |||
BW | 3.5 | 4.4 | 6.8 | 8.1 | 9.2 | 15.4 | ||||
600 | RTJ | 5.9 | 7.4 | 10.4 | 16.2 | 17.5 | 18.3 | |||
BW | 4.5 | 5.1 | 8.2 | 10.5 | 12.4 | 20.1 | ||||
NPS | 1/2 | 3/4 | 1 | 11/4 | 11/2 | 2 | ||||
L(RTJ) | 900-1500Lb | 216 | 229 | 254 | 279 | 305 | 371 | |||
L1(BW) | 900-1500Lb | 216 | 229 | 254 | 279 | 305 | 368 | |||
H(開) | 197 | 197 | 236 | 246 | 283 | 330 | ||||
W | 125 | 125 | 160 | 160 | 180 | 200 | ||||
重量 | RTJ | 7.2 | 11.5 | 15.6 | 16.2 | 22.6 | 32.8 | |||
BW | 5.2 | 9.3 | 12.4 | 13.8 | 18.9 | 27.5 | ||||