Z44H雙閘板平板閘閥專用于天然氣、液體石油氣煤氣、油品等,它一種關閉件為平行閘板的滑動閥。其關閉件可以是其間帶有撐開機構的雙閘板。閘板向閥座的壓緊力是由作用與浮動閘板或浮動閥座的介質壓力來控制。雙閘板平板閘閥,則兩閘板間的撐開機構可以補充這一壓緊力。
能徹底解決了閥門因燃氣結焦而引起的關不嚴、開不動等問題,有效地提高了密封性能和使用壽命,真正達到零泄漏。
產品名稱: | 雙閘板平板閘閥 | 產品型號: | Z44H、Z64H |
公稱通徑: | DN40~DN500 | 結構形式: | 閘板式 |
公稱壓力: | 1.6Mpa~6.4Mpa | 連接方式: | 焊接、法蘭 |
適用溫度: | -20ºC~+121ºC | 驅動方式: | 手動、傘齒輪、電動、氣動 |
閥體材質: | WCB、鑄鋼 | 制造標準: | 國標GB、德國DIN、美國API、ANSI |
適用介質: | 水、石油、天然氣 | 生產廠家: | 浙江嵐勝閥門有限公司 |
1.閥體采用鑄造結構。
2.閥座采用 O 形密封圈密封和施加預緊力的浮動閥座結構,使閥門進出口雙向密封;并且該結構的啟閉力矩僅為普通閥門的 1/2,能達到輕松開、關閥門。
3.閥座采用密封面上鑲嵌 PTFE,具有 PTFE 對金屬和金屬對金屬的雙重密封,PTFE 密封面同時清除閘板臟物的作用。
4.閥門的閘板,無論是全開或是全關始終與密封面吻合,密封面得到保護不受介質直接沖刷,從而延長使用壽命。
5.閥門在全開時,通道平滑為直線,流阻系數極小,無壓力損失,可通毛球清掃管線。
6.閥門關閉時能自動卸掉內腔高壓(詳見工作原理圖),保證使用安全。
7.采用封閉齒輪轉動啟閉指示機構,能長期清晰地反映閥門的啟閉情況。
8.直埋式閥門外表面采用環氧煤瀝青防腐處理,能與管線同壽命。
設計與制造:API 600
法蘭尺寸:ANSI B16.5
結構長度:ANSI B16.10
壓力~溫度:ANSI B16.34
檢驗與試驗:API 598
壓力等級 | 常溫試驗壓力(MPa) | 適用溫度 | 適用介質 | |||||
殼體試驗 | 左密封 | 右密封 | 低壓氣密封 | 普通型 | 抗硫型 | |||
公稱壓力 | 1.6 | 2.4 | 1.76 | 1.76 | 0.6 | -29~121℃或按用戶要求 | 石油、天然氣、水等非腐蝕性介質 | 含H2S、Co2的石油、天然氣、水等腐蝕性介質 |
2.5 | 3.75 | 2.75 | 2.75 | 0.6 | ||||
4.0 | 6.0 | 4.4 | 4.4 | 0.6 | ||||
6.4 | 9.6 | 7.04 | 7.04 | 0.6 | ||||
磅級(Lb) | 150 | 3.0 | 2.2 | 2.2 | 0.6 | |||
300 | 7.5 | 5.5 | 5.5 | 0.6 | ||||
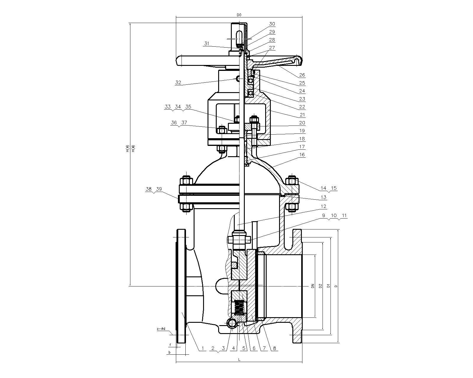
序號 | 零件名稱 | 材料 |
1 | 排污堵頭 | 25 |
2 | 閥體 | WCB |
3 | 閘板 | 16Mn+ENP |
4 | 閥座 | 16Mn |
5 | O形圈 | NBR |
6 | 密封圈 | PTFE |
7 | 閥桿螺母 | ZQAL9-4 |
8 | 閥桿 | 1Cr13 |
9 | 墊片 | 柔性石墨+1Cr18Ni9 |
10 | 閥蓋 | WCB |
11 | 雙頭螺柱 | 35CrMo |
12 | 螺母 | 45 |
13 | O形圈 | NBR |
14 | 軸承 | 組件Package |
15 | 對開環 | 45 |
16 | 內六角螺釘 | 35 |
17 | 鍵 | 45 |
18 | 開關指示器 | PTFE+1Cr18Ni9 |
19 | 手輪 | Q235A |
20 | 螺母 | 35 |

型號 | 公稱通徑DN(mm) | 尺寸 | 重量(kg) | |||||||
L | D | D1 | D2 | b-f | Z-Φd | H | Do | |||
Z44T-10 | 40 | 165 | 145 | 145 | 85 | 18-3 | 4-18 | 240 | 135 | 16.5 |
50 | 180 | 160 | 160 | 100 | 20-3 | 4-18 | 260 | 180 | 20 | |
65 | 195 | 180 | 180 | 120 | 20-3 | 4-18 | 300 | 180 | 25.5 | |
80 | 210 | 195 | 195 | 135 | 22-3 | 4-18 | 345 | 200 | 31 | |
100 | 230 | 215 | 215 | 155 | 22-3 | 8-18 | 395 | 200 | 47 | |
125 | 255 | 245 | 245 | 185 | 24-3 | 8-18 | 478 | 240 | 64 | |
150 | 280 | 280 | 280 | 210 | 24-3 | 8-23 | 558 | 240 | 100 | |
200 | 330 | 335 | 335 | 265 | 26-3 | 8-23 | 720 | 320 | 144 | |
250 | 380 | 390 | 390 | 320 | 28-3 | 12-23 | 845 | 320 | - | |
300 | 420 | 440 | 440 | 368 | 28-4 | 12-23 | 990 | 400 | - | |
350 | 450 | 500 | 500 | 428 | 30-3 | 16-23 | 1100 | 400 | - | |
400 | 480 | 565 | 565 | 482 | 32-3 | 16-25 | 1200 | 500 | - | |
450 | 510 | 615 | 615 | 532 | 32-3 | 20-25 | 1300 | 500 | - | |
500 | 540 | 670 | 670 | 585 | 34-3 | 20-25 | 1500 | 500 | - | |